EURACON liefert Ihnen das Zubehör für die Installation von abgehängten
ORIGINAL DOBNER Metalldecken
Eine hervorragende Möglichkeit, Innenräume innovativ zu gestalten, ist der Einsatz einer hochmodernen, linearen, abgehängten ORIGINAL DOBNER Metalldecke aus superleichtem Aluminium. Damit schaffen Sie ein zeitgemäßes, hochmodernes und ästhetisches Raumdesign. Hervorzuheben ist die einfache Planung und die schnelle und kostengünstige Montage. EURACON liefert Ihnen alles, was Sie zur Montage Ihrer Metalldecke benötigen und bietet Ihnen ein großes Sortiment an Zubehörteilen, die Sie in kleinen und großen Mengen bestellen können.
Zubehör für abgehängte Metalldecken:
1. Zubehör für Paneeldecken und Smart Baffles
2. Zubehör für die ballwurfsicheren Stahl-Paneeldecken
3. Zubehör für die Vertikal-Lamellendecken
1. Zubehör für die ORIGINAL DOBNER Paneeldecken, Smart Baffles und MW-Baffles M-150
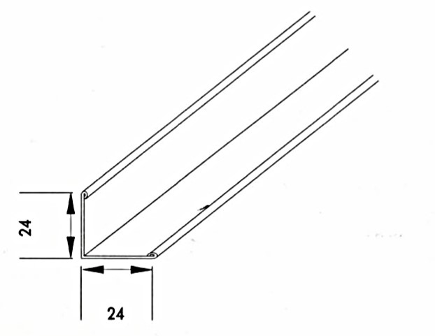
Die ORIGINAL DOBNER Paneeldecken-Tragschiene aus Aluminium
diese Tragschiene ist aus hochwertigem Aluminium hergestellt und beidseitig schwarz einbrennlackiert.
Die Materialstärke ist 0,8 mm
Die Länge ist max. 5000 mm (5,00 m)
Die ORIGINAL DOBNER Paneeldecken-Tragschiene aus Stahl
diese Tragschiene ist aus verzinktem Stahl hergestellt und beidseitig schwarz einbrennlackiert.
Die Materialstärke ist 0,5 mm
Die Länge ist max. 5000 mm (5,00 m)
Lochbild RG 3019
Lochdurchmesser: ca. 3,0 mm
Lochabstand: ca. 6,0 mm
Lochreihen: gerade
Freier Querschnitt: 19,6 %
Lochbild RV 2016
Lochdurchmesser: ca. 2,0 mm
Lochabstand: ca. 5,0 mm
Lochreihen: 60 diagonal versetzt
Freier Querschnitt: 16,0 %
Tragschienen-Verbinder für Paneeldecken
Hergestellt aus Aluminium, welches beidseitig schwarz einbrennlackiert ist. Zum korrekten Verbinden zweier Tragschienen.
Die Längsstöße der Tragschiene werden durch einclipsen des Tragschienen-Verbinders stabil verbunden.
Abhänger-Verlängerungsfedern
Werden mehr als 1.500 mm Abhhanghöhe gewünscht, ist der Einsatz von Verlängerungsfedern notwendig.
Damit ist ein stufenloses Regulieren der Bauhöhe auch bei extrem großen Abhanghöhen möglich.
Die Schnellabhänger
Hergestellt aus verzinktem Stahl mit Sicherungsschieber. Die kleinste Abhanghöhe beträgt bei Verwendung eines Abhängedrahtes min. 140 mm.
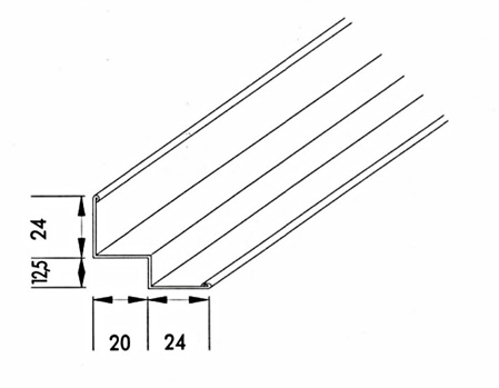
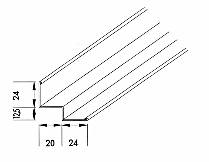
Stufen-Wandwinkel aus Aluminium
Lieferbar in allen RAL-Farben und mit einer maximalen Länge von 3000 mm. Zum Herstellen einer Schattenfuge im Wandbereich.
U-Aufsteckprofile und Füllprofile (zwischen den Paneelen) aus Aluminium
Lieferbar in allen RAL-Farben und mit einer maximalen Länge von 3000 mm.
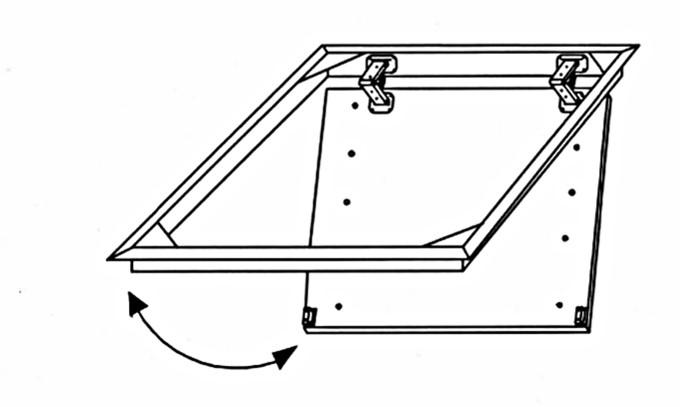
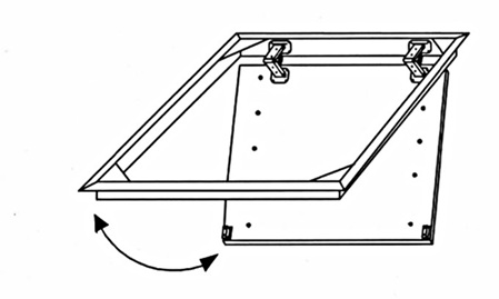
Revisionstüren
für den einfachen Zugang in den Deckenhohlraum. Diese Neuentwicklung gewährleistet ohne Einsatz von Werkzeugen das Öffnen und Schließen der Revisionsklappen.
Durch einfaches Anheben des Revisionsdeckels öffnet der Schließmechanismus automatisch. Zum Schließen der Deckel wieder nach oben drücken und die Revisionstür ist wieder fest arretiert.
Dieser Vorgang lässt sich ohne Beschädigungen beliebig oft wiederholen. In der Revisionsklappe sind bereits die Tragschienen integriert, auf diese können dann vor Ort die Paneele eingeclipst werden.
Übliche Abmessungen:
300 x 300 mm
400 x 400 mm
500 x 500 mm
600 x 600 mm
Andere Abmessungen auf Anfrage.
Akustikmatten
Material: Mineralwolle, 20 mm dick, mit einseitigem schwarzen Rieselschutzvlies kaschiert.
Akustikvliese
Material: Naturfaser oder 100 % synthetisch, schwarz durchgefärbt, riesel- und verrottungsfest, leicht zuschneidbar, umweltfreundlich, fungizid- und chemikalienbeständig
Zusatzmodule
Mit diesen Modulen können Sie problemlos Strahler, Leuchten und Lautsprecher in die Paneeldecke integrieren. Zusatzmodule werden generell separat abgehangen.
2. Zubehör für die ballwurfsicheren ORIGINAL DOBNER Sport-Paneeldecken aus robustem Stahl und die MW-Baffles M-100
Die Stahlpaneele
Paneelboden: 75 mm
Fuge: 25 mm
Modul: 100 mm
Paneelhöhe: 23 mm
Material: 0.8 mm sendzimirverzinktes Stahlblech, ungelocht
Sichtseite: weiß einbrennlackiert, Polyesterlack
Rückseite: schutzlackiert
Längen: in Längen bis 7000 mm
Die Tragschiene für Sportpaneele aus sendzimirverzinktem Stahl
Material: Stahl, verzinkt, 1 mm dick
Modul: 100 mm
Länge: 4000 mm
Paneel-Sicherungsclip
(Wichtig - sichert die Befestigung der Paneele auf der Tragschiene)
Material: Aluminium, 0,8 mm dick, 25 mm breit, schwarz lackiert
Nonius Abhänger Oberteil
Material: Stahlblech, sendzimirverzinkt
Materialdicke: 1,00 mm
Längen: 150 mm bis 2000 mm
Nonius Abhänger Unterteil
Material: Stahlblech, sendzimirverzinkt
Materialdicke: 1,00 mm
Länge: 170 mm
Nonius Sicherungsstift
Zum Verbinden von Nonius-Oberteilen und Nonius-Unterteilen
Material: verzinkter Draht. Sie benötigen 2 Stück pro Abhänger.
Akustikplatten
Material: Mineralwolle, 20mm dick, einseitig mit
schwarzem Glasvlies kaschiert
Abmessung: 600 x 1250 mm
Gewicht: ca. 49 kg /m³
Brandverhalten: nach DIN 4102, nicht brennbar
3. Zubehör für die superleichten ORIGINAL DOBNER Vertikal-Lamellendecken
Abhänger-Verlängerungsfedern
Werden mehr als 1.500 mm Abhängehöhe gewünscht, ist der Einsatz von Verlängerungsfedern notwendig.
Damit ist ein stufenloses Regulieren der Bauhöhe auch bei extrem großen Abhängehöhen möglich.
Die Schnellabhänger
Hergestellt aus verzinktem Stahl mit Sicherungsschieber. Die kleinste Abhängehöhe beträgt bei Verwendung eines Abhängedrahtes min. 140 mm.
Die Vertikal-Lamellen-Tragschiene aus Aluminium
diese Tragschiene ist aus hochwertigem Aluminium hergestellt und beidseitig schwarz einbrennlackiert.
Die Materialstärke ist 0,8 mm
Die Länge ist max. 3000 mm
Standard-Modul-Weiten (für größere Lamellen-Abstände):
100 mm
150 mm
200 mm
Haben Sie noch Fragen zu den ORIGINAL DOBNER Abhangdecken? Bitte senden Sie uns eine E-Mail. Wir beraten Sie sehr gern!
So erreichen Sie uns:
EURACON Sp. z o.o.
ul. Jedności Robotniczej 15
Słubice 69-100
Polen
Telefon: +48 95 747 86 37
E-Mail: info@euracon.pl
Höchste Qualität und Langlebigkeit!
Die kalkulierte Lebensdauer einer ORIGINAL DOBNER Metalldecke beträgt 50 Jahre. Die Aluminiumdecken rosten nicht und sind sehr leicht zu reinigen. Das Preis-Leistungsverhältnis gilt daher als eines der besten und günstigsten unter den vielfältig angebotenen Deckensystemen.
